「画材」の商品(小さな画像をクリックすると、左側の大きな画像が切り替わります)。
画材の中から
表示順
価格の安い順に表示する | 価格の高い順に表示する | 新着順に表示する | 人気順に表示する

全184542件中 2761件~2790件 <前へ88899091929394959697次へ>


〔 ピンバッチ 缶バッチ を飾れる額 〕 A4 297×210mm ブルー 壁掛け スタンド付 フレーム 額縁 額画材 絵具 額縁
thum1thum2thum3

〔 ピンバッチ 缶バッチ を飾れる額 〕 A4 297×210mm ブルー 壁掛け スタンド付 フレーム 額縁 額画材 絵具 額縁

■サイズ・色違い・関連商品■130角(156×156mm) ピンク■130角(156×156mm) ブルー■130角(156×156mm) ブラック■B5(284×209mm) ピンク■B5(284×209mm) ブルー■B5(284×209mm) ブラック■A4(324×23mm) ピンク■A4(324×23mm) ブルー[当ページ]■A4(324×23mm) ブラック関連商品の検索結果一覧はこ...

開店10周年 SETAGAYA INTERIOR
7,720円(税込) (送料込) (カード利用可)

(業務用5セット) ぺんてる ポスターカラークラス用/水彩絵具 【230mL】 チューブ入り YNG3T12 黄
thum1

(業務用5セット) ぺんてる ポスターカラークラス用/水彩絵具 【230mL】 チューブ入り YNG3T12 黄

不透明調にも透明調にも使える!デザイン用品 画材 教材
■サイズ・色違い・関連商品関連商品の検索結果一覧はこちら■商品内容【ご注意事項】・この商品は下記内容×5セットでお届けします。■商品スペックグループ制作にピッタリな230mLチューブ入り。ワンタッチキャップ採用で便利になりました。不透明調にも透明調にも使えます。キャップをなくすことなく、長く使えるワンタッチキャップを採用。●デザイン用品●ポスターカラー●容量:230mL●色:きいろ■送料・配送につ...

サイバーベイ
5,297円(税込) (送料込) (カード利用可)

転倒防止三脚イーゼル EAS02 1台【ECJ】
thum1thum2thum3

転倒防止三脚イーゼル EAS02 1台【ECJ】

crw-48526
商品の仕様●2lペットボトル2本が重しになる強風に強い抜群の安定感。●ブラックボードやホワイトボード、コルクボード等の掲示に。●コンパクトに折りたためます。●使用時外寸:幅680×奥460×高1100mm●収納時外寸:幅680×奥50×高1150mm●適応ボードサイズ:縦355〜1250×横290〜800×厚30mmまで●耐荷重:掲示物=5kg、トレー=4kg●ペットボトルセット可能本数:2本●材...

マルシェ&キッチンカーWORLD
5,890円(税込) (送料込) (カード利用可)

生活雑貨 おしゃれ プレゼント ARTE(アルテ) アルミフレーム スタンダードシリーズ シェイプ A2(420×594mm) シルバー SH-A2-SV 嬉しいもの オシャレ おいわい
thum1

生活雑貨 おしゃれ プレゼント ARTE(アルテ) アルミフレーム スタンダードシリーズ シェイプ A2(420×594mm) シルバー SH-A2-SV 嬉しいもの オシャレ おいわい

【天然石9個おまけ付き】生活雑貨 おしゃれ プレゼント 嬉しいもの オシャレ おいわい
[商品名]ARTE(アルテ) アルミフレーム スタンダードシリーズ シェイプ A2(420×594mm) シルバー SH-A2-SV代引き不可商品です。代金引換以外のお支払方法をお選びくださいませ。スマートな形状が作品を引き立てます。※画像の縦横比や色はイメージです。購入の際はサイズ・色を確認し、お選びください。※モニターの設定などにより、実際の商品と色味等の見え方が異なる場合がございます。予めご...

創造生活館
5,160円(税込) (送料込) (カード利用可)

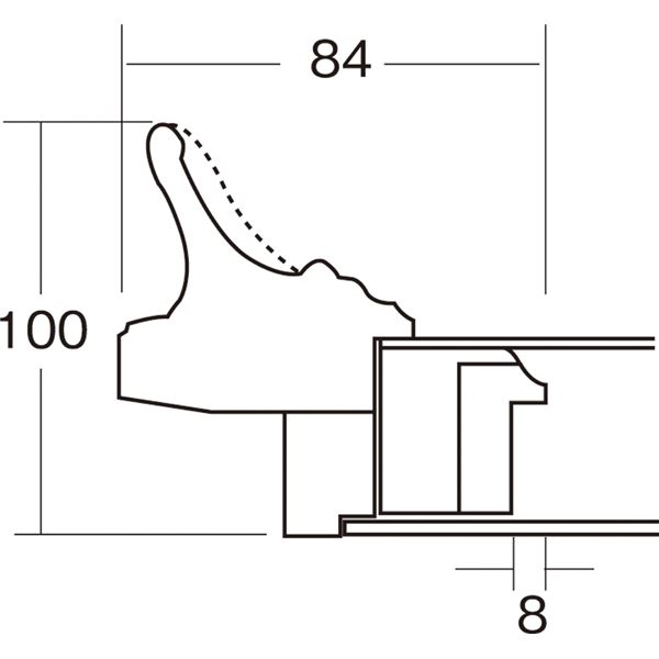
油絵額縁 / 油彩額縁 【M30 ゴールド】 表面カバー:アクリル 吊金具付き画材 絵具 額縁
thum1thum2

油絵額縁 / 油彩額縁 【M30 ゴールド】 表面カバー:アクリル 吊金具付き画材 絵具 額縁

格調高い仕上げの油絵用額縁 油絵フレーム 油額 油彩用フレーム油絵額縁 / 油彩額縁 【M30 ゴールド】 表面カバー:アクリル 吊金具付き画材 絵具 額縁
■サイズ・色違い・関連商品関連商品の検索結果一覧はこちら■商品内容910×606×30mmのキャンバスが入ります。表面アクリル仕様ルイ式でシャープな仕上げ様々な作品に合わせやすい額額吊り金具付き■商品スペック【サイズ】M30【梱包サイズ】縦77.5×横108.9×高さ9.1cm【重量】9.1kg【色】ゴールド【仕様】アクリル■送料・配送についての注意事項●本商品の出荷目安は【1 - 5営業日 ※土...

開店20周年 世田谷家具インテリア
58,610円(税込) (送料込) (カード利用可)

【ポイント20倍】(まとめ) ぺんてる パスティック GC1-15【×2セット】
thum1thum2thum3

【ポイント20倍】(まとめ) ぺんてる パスティック GC1-15【×2セット】

ベタつかず、折れにくい芯だけの色鉛筆。
■商品内容※この商品は下記内容×2セットでお届けします。■商品スペック●削り器,消しゴム付 ●仕様:15色(金・銀入)■送料・配送についての注意事項●本商品の出荷目安は【1 - 4営業日 ※土日・祝除く】となります。●お取り寄せ商品のため、稀にご注文入れ違い等により欠品・遅延となる場合がございます。●本商品は仕入元より配送となるため、沖縄・離島への配送はできません。[ GC1-15 ]

インテリアの壱番館
8,200円(税込) (送料込) (カード利用可)

(同梱不可) アルナ アルミフレーム デッサン額 T25 ブラック デッサン太子 2303 品のあるミニマムなデザイン。
thum1

(同梱不可) アルナ アルミフレーム デッサン額 T25 ブラック デッサン太子 2303 品のあるミニマムなデザイン。

品のあるミニマムなデザイン。
※北海道・沖縄・離島への配送は、 別途送料がかかる場合がございますので、予めご了承くださいませ。 ご注文後7〜8営業日後の出荷となります 極限までシンプルに仕上げた、品のあるミニマムなデザイン。細いフレーム幅でも強度を保ち大きなサイズにも対応出来ます。アルミ素材だからこそ実現出来た、丈夫で品質の高い商品です。サイズ内寸:379×288mm個装サイズ:40.3×31.2×3cm重量個装重量:800g...

オフィス ユー
9,863円(税込) (送料込) (カード利用可)

【まとめ買い3組セット】サクラクレパス グリップ彫刻刀SA 5本組 EHTS-5A ケース入 安全カバー付き カラフル 小学校
thum1thum2thum3

【まとめ買い3組セット】サクラクレパス グリップ彫刻刀SA 5本組 EHTS-5A ケース入 安全カバー付き カラフル 小学校

スライド式安全カバー付き!はじめての彫刻刀に 小学校図工に最適
・刃に触れずに出し入れできるスライド式安全ガードが付いているので安全に使えます。 ・刃は特殊加工ステンレス製刃なのでサビにくく、しかもすばらしい切れ味が持続します。 ・刃先のマークと色で、刃の種類がわかります。 【セット内容】 ・彫刻刀5本(平刀・切り出し刀・三角刀・丸刀大・丸刀小×各1本) ・透明ケース付 ・名前シール付き 【材質】 刃:ステンレス鋼/グリップ:エラストマーゴム/軸:PP/ケース...

ホームセンターきたやま楽天市場店
8,130円(税込) (送料込) (カード利用可)

(まとめ)アートプリントジャパン ベストパネル 低反射(両面) B3 1000097655【×2セット】
thum1

(まとめ)アートプリントジャパン ベストパネル 低反射(両面) B3 1000097655【×2セット】

■サイズ・色違い・関連商品■A1■B3【当ページ】■A2■B2■A3■商品内容【ご注意事項】・この商品は下記内容×2セットでお届けします。■商品スペック反射が少ない低反射シートなので、明るい場所でも見やすいアルミフレーム。両面仕様なので表と裏で掲示内容を変えられます。●フレーム●タテ・ヨコ吊り下げ可●規格:B3●質量:400g●外形寸法:厚8mm●収納寸法:縦515×横364mm●材質:フレーム=...

生活雑貨のお店!Vie-UP
5,500円(税込) (送料込) (カード利用可)

〔 ピンバッチ 缶バッチ を飾れる額 〕 A4 297×210mm ブルー 壁掛け スタンド付 フレーム 額縁 額画材 絵具 額縁
thum1thum2thum3

〔 ピンバッチ 缶バッチ を飾れる額 〕 A4 297×210mm ブルー 壁掛け スタンド付 フレーム 額縁 額画材 絵具 額縁

紫外線やほこりや劣化から防ぐ!壁掛け ・ 置き型どちらでもOKピンバッチ額 缶バッチ額 ピンバッチフレーム 缶バッチフレーム ディスプレイ用品 展示グッズ ぴんばっちがく
■サイズ・色違い・関連商品■130角(156×156mm) ピンク■130角(156×156mm) ブルー■130角(156×156mm) ブラック■B5(284×209mm) ピンク■B5(284×209mm) ブルー■B5(284×209mm) ブラック■A4(324×23mm) ピンク■A4(324×23mm) ブルー[当ページ]■A4(324×23mm) ブラック関連商品の検索結果一覧はこ...

開店20周年 世田谷家具インテリア
7,720円(税込) (送料込) (カード利用可)

【まとめ買い10個セット品】布製図面袋 正A4判(ひも式) ZN-L03A ライトブルー 1枚【メイチョー】
thum1thum2

【まとめ買い10個セット品】布製図面袋 正A4判(ひも式) ZN-L03A ライトブルー 1枚【メイチョー】

set-crw-63078
商品の仕様●図面を保護する丈夫な布縫製タイプ。●材質:綿、ボール紙(古紙使用)※商品画像はイメージです。複数掲載写真も、商品は単品販売です。予めご了承下さい。※商品の外観写真は、製造時期により、実物とは細部が異なる場合がございます。予めご了承下さい。※色違い、寸法違いなども商品画像には含まれている事がございますが、全て別売です。ご購入の際は、必ず商品名及び商品の仕様内容をご確認下さい。※原則弊社で...

開業プロ メイチョー
6,668円(税込) (送料込) (カード利用可)

Golden QOR水彩 0030 ハーフパン インテンシティ 6色セット 13300030
thum1thum2thum3

Golden QOR水彩 0030 ハーフパン インテンシティ 6色セット 13300030

QoR 水彩セット インテンシティ、ハーフパン6個セット。
Golden QOR水彩 0030 ハーフパン インテンシティ 6色セット 13300030 QoR 水彩セット - インテンシティ、ハーフパン6個セット。 このハーフパンカラーセットは、バランスの良い基本色で構成されています。このセットのケースはパレットになっており、お好みの色をチューブから6色まで追加補充できます。ハーフパンカラー6色セット。色組:110 ハンザ イエロー ライト、185 トラ...

ビッグゲート
9,971円(税込) (送料込) (カード利用可)

(まとめ) 長門屋商店 OAマルチケント紙 美彩紙はがき判 自然色 ナ-989 1パック(200枚) 【×10セット】
thum1thum2

(まとめ) 長門屋商店 OAマルチケント紙 美彩紙はがき判 自然色 ナ-989 1パック(200枚) 【×10セット】

紙質はきめ細かくなめらか。
■商品内容【ご注意事項】・この商品は下記内容×10セットでお届けします。●プリンタで印刷できるA3のマルチケント紙。●自然な色合いのアイボリー。●プリンタで印刷できる!!●「美彩紙」シリーズのメーカー売上高の1%をWWFジャパンが取り組む南西諸島プロジェクトの活動支援金として寄付します。■商品スペックサイズ:はがき判色:自然色(アイボリー)坪量:209g/m2材質:特殊紙その他仕様:●厚さ:230...

DECO MAISON
15,930円(税込) (送料込) (カード利用可)

【クーポン配布中】(まとめ) 色画用紙 Nagatoya クレヨンカラー 茶色 ナ-CR010 4961411520104 1冊【×40セット】
thum1thum2thum3

【クーポン配布中】(まとめ) 色画用紙 Nagatoya クレヨンカラー 茶色 ナ-CR010 4961411520104 1冊【×40セット】

事務用品 色画用紙 クレヨンカラー
文房具・事務用品>画材>画材用紙>色画用紙>JANコード:4961411520104【商品説明】●規格:A4判●サイズ:縦297×横210mm●紙厚:0.18mm●坪量:122g/m2【カラー】茶色

インテリアの壱番館
23,700円(税込) (送料込) (カード利用可)

送料無料 おすすめ ARTE(アルテ) ニューカラーボード デザインボード 5mm 3×6(900×1800mm) コーラルピンク 5CB-3x6-CP 楽天 オシャレな 通販
thum1

送料無料 おすすめ ARTE(アルテ) ニューカラーボード デザインボード 5mm 3×6(900×1800mm) コーラルピンク 5CB-3x6-CP 楽天 オシャレな 通販

【天然石1個おまけ付き】送料無料 おすすめ 楽天 オシャレな 通販
[商品名]ARTE(アルテ) ニューカラーボード デザインボード 5mm 3×6(900×1800mm) コーラルピンク 5CB-3x6-CP代引き不可商品です。代金引換以外のお支払方法をお選びくださいませ。両面シルク印刷仕上げになっています。工作、教材、ポップ、切り文字にオススメです。※画像の縦横比や色はイメージです。購入の際はサイズ・色を確認し、お選びください。※モニターの設定などにより、実際...

創造生活館
20,136円(税込) (送料込) (カード利用可)

ポスターパネル131 B4 屋内 スライド式 タテヨコ兼用 カラー:ホワイト (131-W-B4) ポスターフレーム B4サイズ
thum1thum2thum3

ポスターパネル131 B4 屋内 スライド式 タテヨコ兼用 カラー:ホワイト (131-W-B4) ポスターフレーム B4サイズ

1辺開口のスライドセット式フレーム。
商品詳細を選択■サイズ:B4B1B2B3B4A1A2A3A4■カラー:ホワイトステンホワイトブラック木目ポスターパネル131 B4 屋内 スライド式 タテヨコ兼用 カラー:ホワイト (131-W-B4)1辺開口のスライドセット式フレーム。 幅15mmの細身フレーム(※画像のフレームカラーはステンです。) 裏面(※画像のフレームカラーはステンです。) フレームを手前にスライド(※画像のフレームカラー...

サインモール 楽天市場店
7,100円(税込) (送料込) (カード利用可)

〔角額〕木製正方額・壁掛けひも■5767 250角(250×250mm)「グリーン」 【代引不可】【北海道・沖縄・離島配送不可】
thum1thum2thum3

〔角額〕木製正方額・壁掛けひも■5767 250角(250×250mm)「グリーン」 【代引不可】【北海道・沖縄・離島配送不可】

☆ポスター・版画・刺繍など幅広い用途に☆
<<ご注意下さい>>こちらの商品はメーカーよりお客様へ直接お届けの品になります。 当店での在庫はしておりません。在庫の有無はメーカー在庫のみになりますので、急な欠品や急に廃盤になる可能性がございます。また、上記理由により代金引換便はご利用いただけません。ご注文頂いた商品はメーカーに在庫を確認の上改めてご連絡させていただきますので予めご了承お願い致します。こちらの商品の配送について こちらの商品につ...

フジックス
5,152円(税込) (送料込) (カード利用可)

豪華仕様 油絵額縁 / 油彩額縁 【P6 シルバー】吊金具付き 高級感溢れる油絵用額縁 油絵フレーム 油額 油彩用フレーム 画材・絵具 額縁
thum1thum2

豪華仕様 油絵額縁 / 油彩額縁 【P6 シルバー】吊金具付き 高級感溢れる油絵用額縁 油絵フレーム 油額 油彩用フレーム 画材・絵具 額縁

高級感溢れる油絵用額縁 油絵フレーム 油額 油彩用フレーム 画材・絵具 額縁
■サイズ・色違い・関連商品関連商品の検索結果一覧はこちら■商品内容410×273×20mmのキャンバスが入ります。表面ガラス仕様ルイ式でシャープな仕上げ様々な作品に合わせやすい額額吊り金具付き■商品スペック【サイズ】P6【梱包サイズ】縦43.1×横58.1×高さ8cm【重量】3.35kg【色】シルバー■送料・配送についての注意事項●本商品の出荷目安は【1 - 5営業日 ※土日・祝除く】となります。...

世田谷家具インテリアストア
14,940円(税込) (送料込) (カード利用可)

大額 水彩額 5913 水彩F6 ナチュラル
thum1

大額 水彩額 5913 水彩F6 ナチュラル

【送料無料】
 ギフト対応について 楽天国際配送対象店舗 (海外配送) Rakuten International Shipping 大額 水彩額 5913 水彩F6 ナチュラルおすすめ【大額 水彩額 5913 水彩F6 ナチュラル】 fk094igrjs 長く愛されるベーシックでナチュラルなデザインの水彩額。柔らかさのある木目テイストで幅広い作品と場所にマッチします。サイズ【F6】マット窓枠サイズ:...

イースクエア
5,841円(税込) (送料込) (カード利用可)

KAWAGUCHI 布ペタラベルS 16枚入 横30mm×縦10mm 生成 10-050
thum1thum2

KAWAGUCHI 布ペタラベルS 16枚入 横30mm×縦10mm 生成 10-050

サイズ:Sサイズ(横30mm×縦10mm)◆商品名:KAWAGUCHI 布ペタラベルS 16枚入 横30mm×縦10mm 生成 10-05030mm×10mmSサイズ16枚入りゼロヒート接着技術(特許出願中)洗い替え用に何枚もあるものや、家族で目印をつけたいものにもたくさん使える16枚アイロン不要! 強力接着! 布に貼るだけ、お洗濯も出来ます

Homey Store 楽天市場店
1,301円(税込) (送料込) (カード利用可)

【送料無料】ミューズ ケント紙 ミューズケントブロック A4大 #200 15枚入 KL-6744
thum1thum2thum3

【送料無料】ミューズ ケント紙 ミューズケントブロック A4大 #200 15枚入 KL-6744

スタイル:#200◆商品名:ミューズ ケント紙 ミューズケントブロック A4大 #200 15枚入 KL-674415枚入サイズ:A4大天糊本型高級ケント紙のKMKケントをクロス巻き便箋式に製本したスケッチブックです。 紙の厚さが#200、紙色はナチュラルホワイトで、原料に良質な木材パルプを使用しているトータルバランスの高いケント紙です。 特に製図ペンや烏口などの墨入れに最適で発色が良く、消しゴム...

SHOPWNY 心満たす雑貨店
2,090円(税込) (送料込) (カード利用可)

アルミフレーム 低反射 A3サイズ ホワイト 作品入替簡単 額縁 軽量 日本製
thum1thum2thum3

アルミフレーム 低反射 A3サイズ ホワイト 作品入替簡単 額縁 軽量 日本製

作品の出し入れが簡単な、額縁タイプのアルミフレーム
※サプライヤー直送品 反射が少なく、明るい場所でも見やすいフレームです。フレーム裏側のトンボを回転させるだけで、作品の入替えが簡単に出来ます。吊下げ時に、紐がフレームの裏に隠れます。※商品名の表記サイズは裏板サイズ(中に入れる紙のサイズ、内寸)です。※外寸は裏板のサイズにフレームの幅を足したものが目安となります。※商品の画像の縦横比はイメージです。購入の際は商品名のサイズでお選びください。サイズ個...

PocketCompany 楽天市場店
3,540円(税込) (送料込) (カード利用可)

4K 描画ボードバッグアーティストポートフォリオキャリーショルダーバッグ実用的な旅行輸送多機能耐久性のあるスケッチパッドアートバッグ
thum1thum2thum3

4K 描画ボードバッグアーティストポートフォリオキャリーショルダーバッグ実用的な旅行輸送多機能耐久性のあるスケッチパッドアートバッグ

説明: 【防水素材】製図板バッグは防水布素材で作られており、耐久性があり、軽量で長時間使用できます。【アーティストバックパック】 シンプルでファッショナブルなデザインで、男性にも女性にも適したショルダーストラップ付きのアートポートフォリオケース。【適切なサイズ】アートポートフォリオキャリングバッグのサイズは60cmx50cm/23.62インチx19.69インチで、複数の収納ポケットが付いています。...

Dovewill
5,890円(税込) (送料込) (カード利用可)

アイデア商品 面白い おすすめ 型押し友禅千代紙 15cm U300-10 5セット 人気 便利な お得な送料無料
thum1

アイデア商品 面白い おすすめ 型押し友禅千代紙 15cm U300-10 5セット 人気 便利な お得な送料無料

【天然石6個おまけ付き】アイデア商品 面白い おすすめ 人気 便利な お得な送料無料
[商品名]型押し友禅千代紙 15cm U300-10 5セット代引き不可商品です。代金引換以外のお支払方法をお選びくださいませ。鮮やかな色合いが美しい千代紙です。サイズ15cm角個装サイズ:16×16×2cm重量個装重量:300g仕様6柄入り(各柄1枚入り)セット内容6枚入り×5セット生産国日本※入荷状況により、発送日が遅れる場合がございます。おりがみや工作の材料に。鮮やかな色合いが美しい千代紙で...

創造生活館
3,996円(税込) (送料込) (カード利用可)

【クーポン配布中】(まとめ)サンスター文具 色画用紙 CN-0235000-B A4【×20セット】
thum1thum2thum3

【クーポン配布中】(まとめ)サンスター文具 色画用紙 CN-0235000-B A4【×20セット】

■サイズ・色違い・関連商品■B4 10セット■B5 20セット■B6 50セット■A4 20セット[当ページ]■商品内容【ご注意事項】この商品は下記内容×20セットでお届けします。サンスター文具色画用紙 CN-0235000-B A4■商品スペック工作などに最適な9色セットの色画用紙。紙が散らからず、使いやすい天のりタイプ。●規格:A4●紙厚[μm]:193●坪量[g/平方メートル]:120.7●...

インテリアの壱番館
10,300円(税込) (送料込) (カード利用可)

人気 おすすめ 日用品 長3 給料袋 85G 100枚入 10セット PN-キ138 おしゃれ ショップ 楽天 快気祝い
thum1

人気 おすすめ 日用品 長3 給料袋 85G 100枚入 10セット PN-キ138 おしゃれ ショップ 楽天 快気祝い

【天然石11個おまけ付き】人気 おすすめ 日用品 おしゃれ ショップ 楽天 快気祝い
[商品名]長3 給料袋 85G 100枚入 10セット PN-キ138代引き不可商品です。代金引換以外のお支払方法をお選びくださいませ。書類の送付など、様々な用途にお使いいただけます。※納品書以外の領収書・案内状等の同封はできません。ご了承ください。サイズ約120×235mm個装サイズ:27×12×43cm重量個装重量:6000g仕様古紙40%以上85g/m2セット内容100枚×10セット生産国日...

創造生活館
10,980円(税込) (送料込) (カード利用可)

【クーポン配布中】(業務用30セット) 大王製紙 再生色画用紙/工作用紙 【八つ切り 100枚】 くま(こいくろ)
thum1

【クーポン配布中】(業務用30セット) 大王製紙 再生色画用紙/工作用紙 【八つ切り 100枚】 くま(こいくろ)

使い方いろいろ!教材・工作用・発表会にも。
■サイズ・色違い・関連商品■八つ切り 10枚 20セット■八つ切り 10枚 200セット■八つ切り 100枚 3セット■八つ切り 100枚 30セット[当ページ]■四つ切り 10枚 10セット■四つ切り 100枚 2セット関連商品の検索結果一覧はこちら■商品内容【ご注意事項】・この商品は下記内容×30セットでお届けします。■商品スペック使い方いろいろ!●色画用紙●規格:8ッ切●寸法:縦392×横2...

インテリアの壱番館
44,900円(税込) (送料込) (カード利用可)

uxcell 5個 ヴィンテージレジン写真フレーム ミニチュア小さなフォトフレーム矩形宝石ディスプレイ用プロップDIYテーブルトップ写真ウェディングデコレーション ホワイト 1.5 x 1.2
thum1thum2thum3

uxcell 5個 ヴィンテージレジン写真フレーム ミニチュア小さなフォトフレーム矩形宝石ディスプレイ用プロップDIYテーブルトップ写真ウェディングデコレーション ホワイト 1.5 x 1.2"

送料無料
商品詳細 特徴 【属性1】仕様: カラー: ホワイト; 素材: レジン; フレーム形状: 矩形; 全体サイズ: 6 x 5 x 0.5cm / 2.4 x 2 x 0.2インチ(長さ * 幅 * 厚さ); 内寸: 3.9 x 3cm / 1.5 x 1.2インチ(長さ * 幅); パッケージ内容: 5個 x ミニヴィンテージフレーム【属性2】[耐久性のあるレジン素材] 耐久性のあるレジンから作られ...

uxcell japan
896円(税込) (送料込) (カード利用可)

暮らし プレゼント 実用的 単色カラーセロファン 緑 No.7008 10 セット お祝い ギフト 人気 ブランド お洒落
thum1

暮らし プレゼント 実用的 単色カラーセロファン 緑 No.7008 10 セット お祝い ギフト 人気 ブランド お洒落

【天然石10個おまけ付き】暮らし プレゼント 実用的 お祝い ギフト 人気 ブランド お洒落
[商品名]単色カラーセロファン 緑 No.7008 10 セット代引き不可商品です。代金引換以外のお支払方法をお選びくださいませ。教材用としてもおすすめです。サイズ44×32cm個装サイズ:38×20×2cm重量個装重量:300gセット内容5枚入り×10セット生産国日本※入荷状況により、発送日が遅れる場合がございます。工作や飾りつけなどに。教材用としてもおすすめです。fk094igrjs

創造生活館
3,804円(税込) (送料込) (カード利用可)

(業務用3セット) 北越製紙 やよいカラー 色画用紙/工作用紙 【八つ切り 100枚】 ぐんじょう
thum1

(業務用3セット) 北越製紙 やよいカラー 色画用紙/工作用紙 【八つ切り 100枚】 ぐんじょう

すべりもよく発色もきれい!教材・工作用・発表会使い方色々
■サイズ・色違い・関連商品関連商品の検索結果一覧はこちら■商品内容【ご注意事項】・この商品は下記内容×3セットでお届けします。■商品スペックすべりもよく、発色もきれいです。●規格:八つ切(8ツ切)●色:ぐんじょう●100枚、有害添加物未使用■送料・配送についての注意事項●本商品の出荷目安は【1 - 5営業日 ※土日・祝除く】となります。●お取り寄せ商品のため、稀にご注文入れ違い等により欠品・遅延と...

ワールドデポ
6,100円(税込) (送料込) (カード利用可)


全184542件中 2761件~2790件 <前へ88899091929394959697次へ>


Copyright © 日用品雑貨・文房具・手芸館 送料0円.com 2009-. All Rights Reserved.
Supported by 楽天ウェブサービス  特定商取引法に基づく表記